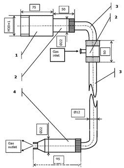
帶有氣體清洗功能的CO2激光傳輸高功率光纜系統

1. 耦合器,包括可調的ZnSe鏡片和SMA 接口
2. H密封單元
3. 帶有塑料接口的可彎曲金屬軟管, 用于傳輸冷卻氣體,里面含有光纜(根據要求提供1-1.5m長的光纜)
4. 手柄,包含有輸出裝置和SMA接口
轉載請注明出處。
星之球科技 來源:安特激光2013-01-02
我要評論(0 )
帶有氣體清洗功能的CO 2 激光傳輸高功率光纜系統 1. 耦合器,包括可調的ZnSe鏡片和SMA 接口 2. H密封單元 3. 帶有塑料接口的可彎曲金屬軟管, 用于傳輸冷卻氣體,里面含...
帶有氣體清洗功能的CO2激光傳輸高功率光纜系統

1. 耦合器,包括可調的ZnSe鏡片和SMA 接口
2. H密封單元
3. 帶有塑料接口的可彎曲金屬軟管, 用于傳輸冷卻氣體,里面含有光纜(根據要求提供1-1.5m長的光纜)
4. 手柄,包含有輸出裝置和SMA接口
轉載請注明出處。
① 凡本網未注明其他出處的作品,版權均屬于激光制造網,未經本網授權不得轉載、摘編或利用其它方式使用。獲本網授權使用作品的,應在授權范圍內使
用,并注明"來源:激光制造網”。違反上述聲明者,本網將追究其相關責任。
② 凡本網注明其他來源的作品及圖片,均轉載自其它媒體,轉載目的在于傳遞更多信息,并不代表本媒贊同其觀點和對其真實性負責,版權歸原作者所有,如有侵權請聯系我們刪除。
③ 任何單位或個人認為本網內容可能涉嫌侵犯其合法權益,請及時向本網提出書面權利通知,并提供身份證明、權屬證明、具體鏈接(URL)及詳細侵權情況證明。本網在收到上述法律文件后,將會依法盡快移除相關涉嫌侵權的內容。
相關文章
網友點評
熱門資訊
精彩導讀
關注我們