目前在中國塑料制品行業機械手的使用已經越來越普及。通常塑料制品廠的操作工都需要經過一段時間的培訓才可以上崗,而員工更換工作、農民工不定期返鄉會讓雇主十分頭疼,他們必須培訓新的員工,而且還會影響產品的生產效率。機械手很好的解決了這個問題。首先,機械手可以確保設備運轉周期的一貫性;其次,機械手可以提高產品的品質;第三,機械手取代普通工人從模具中取零件更加穩定,更加安全。
不斷發展的模具技術也為機械手提供了更多的市場機會。根據深圳塑料橡膠協會調查目前行業機械手普及率大約5%左右,可以看到行業的發展前景非常樂觀。機械手在塑料機械行業使用廣泛,本文章主要介紹臺達PLC、人機界面、伺服等產品在塑料機械手行業的應用實例。
臺達控制系統機械手介紹
1、 臺達控制系統機械手的功能優勢
1) 采用EH2系列的PLC以脈沖方式控制伺服,脈沖發送頻率達到200K,在高效率前提下保證了控制精度。
2) 采用AE57CSTD人機界面于臺達B系列的交流伺服具有非常高的性價比。
3) 控制程序采用開放式結構區別于其他廠家PLC開發的程序單一的控制功能,用戶可以任意定義機械手的動作順序,更換模具或更改控制功能時無需修改PLC程序在人機界面上即可完成程序修改。
2、 硬件組成

3、設備工藝簡介
臺達控制系統機械手用于塑料盆(桶)取送料,盆(桶)底部圖案標簽的制作、傳送,以及塑料產品成型后修邊處理。
工藝流程是:第一步,機械手將標簽貼在模具上;第二步,將成型設備加工好的盆(桶)從設備模腔中取出,放在修邊位置進行多于部分的修邊處理。第三步,等修邊處理完畢,將產品放在成品堆放處;第四步,在切標機上,機械手取出下一個標簽返回等待下一個模具。四個步驟循環執行。
以下是公模工藝具體流程圖:

1、 具體功能
1) 與塑料成型機配合進行全自動的取料、貼標、切標、修邊和送料動作。
2) 手動操作,控制伺服及其設備上相關的氣動、真空和直流調速電機。
3) 人機界面上可以編寫用戶工藝程序,達到可以任意定義輸出點動作順序、伺服位置和速度,可以在用戶程序中加入輸入點的邏輯判斷。
4) 用戶所編寫的工藝程序可以讀取顯示,并可以修改。
5) 可以存儲10組用戶定義的工藝程序,并對其進行自由調用。
6) 在自動運行過程中可以監控程序執行步驟。
7) 自動運行具備暫停和繼續執行功能。
8) 具備兩種原點定義方式:手動清零方式,與接近開關定義機械原點過程定義工件原點。
臺達控制系統機械手的應用規劃及效果
1、 自定義程序實現原理
1) PLC程序記錄用戶按鍵順序,來確定執行功能順序。
2)按鍵功能可以重復使用,若程序輸入錯誤可以按順序清除后重新輸入,或者撤銷一步清除一個功能。
3)提供輸入點判斷功能(取物成功)用戶程序具有存儲功能目前最多可以存儲10組工藝程序。

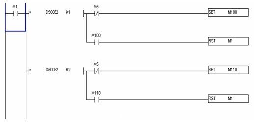
PLC程序實現方法:

M11對應人機界面上按鍵取物氣動,當按下按鍵后將按鍵對應的數值存儲在PLC,D500開始的區間內,使用E1做地址修飾。然后將E1自增1,復位M11,表示一個動作已經存儲完畢。用戶只需要按安照工藝順序依次按下按鍵即可將動作順序存入PLC,根據PLC中存儲的順序調用子程序。 當自動運行開始M1標志有效,E2是自動程序順序指針初始值是1代表程序執行用戶所輸入的第一個動作,每執行一個動作E2自增一也就是D500E2地址偏移一個位置。M100為調用子程序標志。每一個動作就是一個子程序。 2、程序修改方法 當按下清除一步M2636標志位有效,將指針計數E1自減1(即將D500E1地址倒退一步)并且將當前步的按鍵數值清除,并且復位M2636。程序也提供程序全部清除功能,如果需要也可以增加插入或修改某一條功能。 3、提供用戶所編寫工藝程序顯示畫面,在編寫程序時候用戶可以隨時檢查輸入是否正確。具體實現方法如下:
使用一般型信息顯示組件,將新增刪除狀態總數設置成256如下圖,數值單位WORD讀取地址D500通過更改組件編即對應D500數據區數值來顯示用戶所編寫的工藝程序。


4、 程序具有實時監控功能

如上圖,“夾物啟”位置就是顯示目前程序所執行的步驟,本界面也可以通過讀取程序按鍵來選取工藝程序。目前該程序在設備上運行穩定,用戶滿意。已經將原有PLC編寫的程序完全替換掉。
轉載請注明出處。








相關文章
熱門資訊
精彩導讀





















關注我們




