據國外媒體報道,蘋果周二(22日)獲得一項智能天花板照明系統專利,它將把這種照明系統部署到全球各地的下一代蘋果零售店中。
美國專利與商標管理局授予蘋果的這項專利的編號為第9217247號美國專利,專利名稱為“天花板系統”,專利文件中詳細說明了一種室內照明系統,這種照明系統由鋪天蓋地的光照天花板面板和線性光槽組成。

蘋果設在布魯塞爾的最新零售店和加州庫伯蒂諾市總部園區的翻新零售店的計劃書中都提到了這項專利的說明文字。

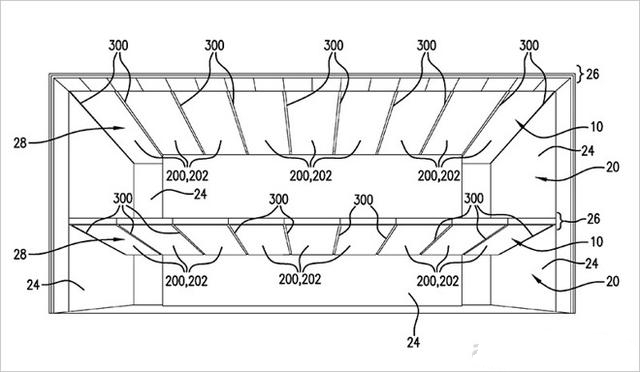
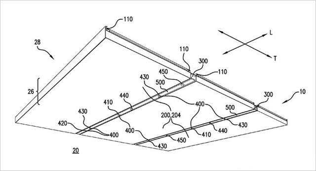
這種智能天花板照明系統并非點光源,而是將整塊天花板變成了一個巨大的漫射照明裝置。蘋果稱,統一的光照強度有助于提供一種完美的客戶體驗,而且在商品陳列上也會有更大的靈活性。
在各種照明設計方案中,蘋果可以用帶或不帶照明功能的天花板面板和窄槽拼接成不同的圖案。帶照明功能的面板中也許安裝著LED燈管或其他光源,通過織物或塑料漫射器直射下來或通過背板反射下來。
窄槽遍布在整個天花板上,窄槽中整合了能夠朝著窄槽中心線水平發射光線或垂直向下發射光線的LED子系統。某些照明方案中還可以通過丁字架向下擴展,以便為通風管預留空間。
攝像頭、麥克風、報警器、火警器和其他電子系統可以通過創新設計安裝到天花板面板的后面和縱向槽中,這樣從外面就看不到它們。雖然蘋果沒有在專利文件中說明,但是iBeacon通信模塊也能直接被安裝到天花板中。
在首席設計官喬尼·艾維(Jony Ive)的幫助下,負責蘋果零售業務的高級副總裁安吉拉·阿倫茨(Angela Ahrendts)正在對蘋果零售店進行重要的翻新。阿倫茨周日在“60分鐘”節目中展示了蘋果庫伯蒂諾市總部附近的一家蘋果零售店的模型,她說她的目標是讓顧客們走進下一代蘋果零售店時能夠獲得一種充滿變化的購物體驗。

這項專利的申請文件是蘋果在2014年2月提交上去的,專利發明人包括:斯特凡·貝林(Stefan Behling)、大衛·尼爾森(David Nelson)、詹姆斯·麥克格拉斯(James McGrath)、沃爾夫岡·穆勒(Wolfgang Muller)、洛倫佐·坡利(Lorenzo Poli)、柏恩德·李克特(Bernd Richter)、羅伯特·布里杰(Robert Bridger)、喬納森·P·西格爾(Jonathan P. Siegel)、瓦斯科·阿格諾里(Vasco Agnoli)和凱西·菲尼(Casey Feeney)。
轉載請注明出處。








相關文章
熱門資訊
精彩導讀





















關注我們




