南京波長光電科技有限公司推出的水冷擴束鏡帶有水冷功能,結構緊湊,發散角可調。適用于CO2、YAG激光的擴束,具有使用壽命長,光束輸出穩定的優點。受到市場的廣泛好評。
一、主要優點
1、帶水冷循環,可以大大降低鏡片溫度,從而延長使用壽命,提高光束穩定性;
2、出射光束發散角可調,調整發散角度可以改變聚焦點位置與光斑分布;
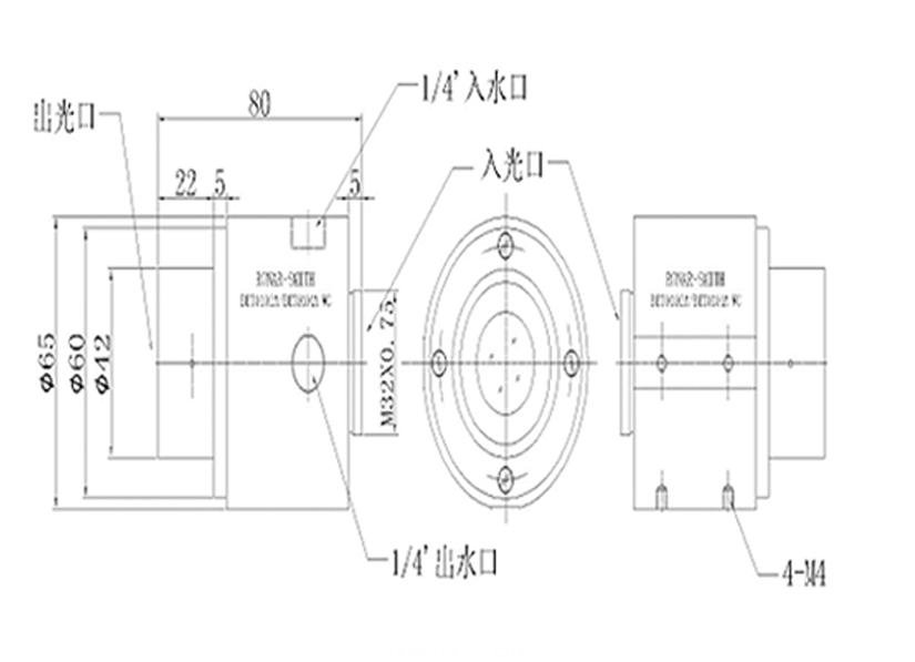
二、結構特點(如下圖所示)
1、自帶入水口,出水口,用戶只需接上水管即可,使用方便;
2、帶發散角調節圈,調整精度高;
3、嵌入式內水道,水冷效果好,結構緊湊,體積小;
三、功能指標
|
入射孔徑 |
20mm |
|
輸出孔徑 |
28mm |
|
波長 |
YAG/CO2 (1064nm/10.6um) |
|
擴束比 |
1.5/2/3/4/5/6/7/8/10 |
|
最大功率 |
1000W |

轉載請注明出處。








相關文章
熱門資訊
精彩導讀



















關注我們




