-
設計師的iPhone8概念機帶激光鍵盤投影
iPhone6已經發布并上市,馬上也要進入2015年了,要總結下2015年最值得期待的智能手機,蘋果iPhone6s絕對是其中之一。不過概念設計師們一向比較超前,他們已經開始設計(YY)iPhone8了,國外設計...
2014-12-29 -
小米5配藍寶石屏“現身”2015年CES? 產能成本受關注
盡管蘋果(Apple)iPhone 6系列未如市場預期,采用藍寶石作為保護外蓋,使得藍寶石導入智能手機的熱度為之冷卻,然近期市場傳出,新款5.7寸小米5旗艦手機可能將采用藍寶石保護蓋,并于20...
2014-12-25 -
手機廠商集體突圍 德國激光直接成型技術專利判無效
12月19日 LDS的全稱是 Laser Direct Structuring(激光直接成型技術)是一種專業鐳射加工方式,可將天線直接雷射在手機外殼上,不僅避免內部手機金屬干擾,更縮小手機體積。而傳統手機天線大都采用...
2014-12-24 -
蘋果欲推激光投射指令提升iPhone組裝效率
由于 iPhone 的巨大市場需求,富士康、和碩等組裝廠商的工廠長時間都處于缺少工人的狀態。而且,就算是勉強招到了工人,有些人也是沒有經過太多的 培訓就匆忙上陣,以致在iPhone的組裝過...
2014-12-24 -
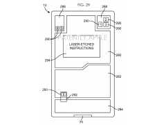
蘋果最新激光專利竟是為了提高生產率?
歐洲專利商標局近日公開了蘋果提交的一項關于提升 iPhone 組裝效率的專利,這項專利主要描述的是在 iPhone 機身上通過激光手段投射組裝指令(如下圖所示),這樣一來技術還不夠純熟的工人...
2014-12-23 -
大族華工角逐藍寶石激光切割市場 2014崛起消費電子新材料
今年,藍寶石著實火了一把,在蘋果還沒發布新機之前長時間流傳iphone6會使用藍寶石玻璃面板。期間,藍寶石供應商GTAT,相關產業鏈如大族激光、富士康等等也好事連連。然而隨著iphone6發布...
2014-12-23 -
蘋果研發激光設備iPhone 觸動稀有金屬需求
能發射激光的蘋果iPhone,這聽起來有點兒像詹姆斯﹒邦德的電影,不過在蘋果最近提交的專利報告中看到,蘋果正研發一款裝有激光設備的 iPhone手機。雖然蘋果手機的激光發射不會像《007》電...
2014-12-17 -
蘋果公司又一項3D地圖激光投影系統專利曝光
該專利與光學設備和系統相關,具體為光學投影系統,改善照明光束均勻性。蘋果表示這種投影系統可以使用在很多場合,包括3D地圖和成像等。 蘋果在專利文件中介紹表示,成型光束可以穿...
2014-12-10
排行榜
編輯推薦
關注我們












